0571-64618808
杭州金年会阀门有限公司

科技突破未来 品质创造价值

首页 产品中心 消防阀门系统 蝶阀

对夹式蜗轮信号蝶阀

产品概述:

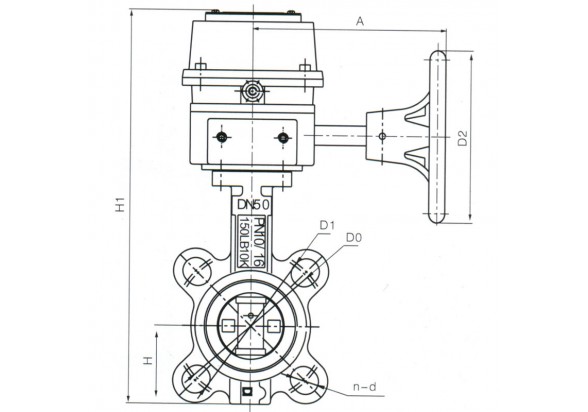
对夹式消防信号蝶阀是蝶阀与信号头连接, 信号头是在阀门手动装置的基础上增加了电气开关箱, 内置微动开关、凸轮、接线板、电缆进口和结构件等。开向和关向各有一个微动开关, 阀门“ 关” 到位或“ 开” 到位时能提供一个电信号;电器开关箱为全密封结构, 壳体结合部位均设有密封圈, 因此可直接用于户外。可用于开启或关闭流体管道中的介质, 也是消防工程自动喷水灭火系统的配套附件之一,同时也可用于水流控制前端作监控阀


咨询我们
  • 技术参数
  • 外型尺寸
  • 零件材料
  • 下载中心
  • 1610586859(1).jpg


  • 1610586905(1).jpg


  • 1610586887(1).jpg